Shopping Cart
Ostoskorisi on tyhjä!
Välisumma:
0,00 €
Näytä ostoskori
Kassa


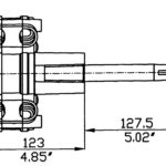
Ohjauspesä kahdella kaapelilla. Jos voimantarve tai veneen nopeus kasvaa yli 50 sol, suositellaan tätä kaksoiskaapeliohjausta. Toiminnaltaan kuten T71 FC. Ohjauspyörän kierto on 3,8 kierrosta kaapelin liikeradalla 228 mm. Vähäinen takaisku. Max. ohjauspyörä Ø 400 mm. Rummun asennukseen tarvitaan asennussarja X34 tai X35. Ohjauspesään sopiva kaapeli on M66.
Ohjauspesä kahdella kaapelilla. Jos voimantarve tai veneen nopeus kasvaa yli 50 sol, suositellaan tätä kaksoiskaapeliohjausta. Toiminnaltaan kuten T71 FC. Ohjauspyörän kierto on 3,8 kierrosta kaapelin liikeradalla 228 mm. Vähäinen takaisku. Max. ohjauspyörä Ø 400 mm. Rummun asennukseen tarvitaan asennussarja X34 tai X35. Ohjauspesään sopiva kaapeli on M66.
| Paino (kg) | 2.74 kg |
|---|---|
| Pakkauskoko | 1 |
| Valmistaja | ULTRAFLEX |
| Tekninen nimi | 38868K |